登录     注册
当前位置:首页>政务公开>专题专栏>白山市本级行政法信息公示>行政执法部门>市城管执法局>事前公示 返回首页
行政许可流程图
发布时间:2022-03-10     信息发布人:白山市城市管理行政执法局

大型户外广告审批  

 

一、行政许可事项名称

户外广告的审批(基本目录编码000117017000)

二、许可依据

《城市市容和环境卫生管理条例》(1992年6月28日国务院令第101号,2011年1月1日予以修改)第十一条:在城市中设置户外广告、标语牌、画廊、橱窗等,应当内容健康、外型美观,并定期维修、油饰或者拆除。第十七条: 一切单位和个人,都不得在城市建筑物、设施以及树木上涂写、刻画。单位和个人在城市建筑物、设施上张挂、张贴宣传品等,须经城市人民政府市容环境卫生行政主管部门或者其他有关部门批准。

《吉林省城市市容和环境卫生管理条例》(2008年11月28日吉林省第十一届人民代表大会常务委员会第七次会议通过  2008年11月28日吉林省人民代表大会常务委员会公告第10号公布  自2009年4月1日起施行)第二十四条第二款:设置大型户外广告牌必须征得城市人民政府市容和环境卫生行政主管部门同意后,按照有关规定办理审批手续。

《白山市城市户外广告和招牌设置管理条例》第九条第一款:设置大型户外广告,应当征得城乡规划、城市管理行政主管部门同意后,按照有关规定办理审批手续。

三、受理条件

1、设置大型户外广告牌必须经得城市人民政府市容和环境卫生行政主管部门同意后,按照有关规定办理审批手续。

四、申请资料

1、经办人身份证复印件

2、法人身份证复印件

3、营业执照复印件(企业统一社会代码)

4、大型户外广告设置申请表

5、利害关系人协议书

6、产权单位协议书

7、设计图纸

8、安全保证书

9、授权书

10、街路平面位置图

11、购房合同

12、消防审核意见书

13、房屋安全监督书

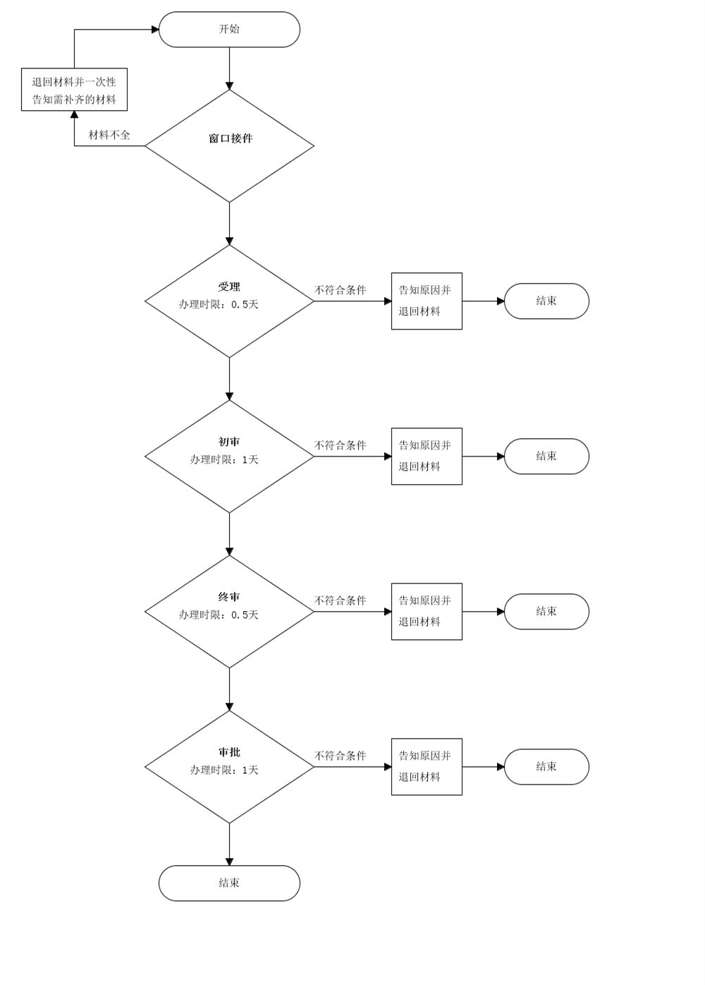
五、办理程序

一)提出申请:申请人到政务服务大厅市城管执法局窗口提出申请;

(二)受理;

(三)审查

1、大厅工作人员对申请人提供资料的合法性、完整性进行审查。

2、由局管理科室对现场进行勘查;

(四)做出决定:1、许可;2、不予许可;

(五)核发证书。

六、法定时限和承诺时限 

法定时限:20日,承诺时限:3个工作日。

七、咨询、投诉电话

咨询电话:3235810

投诉电话:3537008

 

 

 

 

 

 

 

 

 

大型户外广告设置申请表

 

申请单位

 

统一社会

信用代码

 

经办人

 

身份证号

 

联系电话

 

广告面积及数量

长:      米,  宽:      面积      平方米    共 :   

设置时间

       日至               

 

设置地点

 

 

 

广

 

 

广告设置期间,我单位承诺愿意遵守《吉林省城市市容和环境卫生管理条例》以及《吉林省市政公用设施管理条例》等有关规定,保持广告整洁、完好。广告设置已经房屋所有权人及相关邻居的同意。并做好安全防护措施,自行承担因广告设置安全防护不到位引起的一切责任。广告图案、文字污浊、腐蚀、损毁的,及时修复、更新;到期及时拆除。若因城市管理工作需要无条件拆除。

特此承诺。

 

 

 

 

      经办人签字:                       单位公章:

 

大型户外广告设置审批流程图

 

户外广告类审批  

一、行政许可事项名称

服务类信息栏户外广告审批工地围挡广告审批各类公益性广告宣传审批(基本目录编码000117017000)

二、许可依据

《城市市容和环境卫生管理条例》(1992年6月28日国务院令第101号,2011年1月1日予以修改)第十一条:在城市中设置户外广告、标语牌、画廊、橱窗等,应当内容健康、外型美观,并定期维修、油饰或者拆除。第十七条: 一切单位和个人,都不得在城市建筑物、设施以及树木上涂写、刻画。单位和个人在城市建筑物、设施上张挂、张贴宣传品等,须经城市人民政府市容环境卫生行政主管部门或者其他有关部门批准。

《吉林省城市市容和环境卫生管理条例》(2008年11月28日吉林省第十一届人民代表大会常务委员会第七次会议通过  2008年11月28日吉林省人民代表大会常务委员会公告第10号公布2009年4月1日起施行)第二十三条:在建筑物、构筑物和其他设施上悬挂、张贴宣传品;利用条幅、旗帜、充气装置、实物造型等载体设置宣传品等,应当经城市市容和环境卫生行政主管部门批准。零星宣传品应当在城市市容和环境卫生行政主管部门设置或者指定的公共宣传栏张贴。除经批准的自设广告外,禁止采用刻画、喷涂、胶贴等难以清除的方式进行广告宣传。

三、受理条件

1、户外广告、商业性牌匾设置、门面装饰及在公共场所利用条幅、旗帜、气球、充气式装置、实物造型等载体形式设置标语、宣传品的,应当符合市容规划要求,须经市容和环境卫生行政主管部门批准。

 2、在建筑物、构筑物和其他设施上悬挂、张贴宣传品;利用条幅、旗帜、充气装置、实物造型等载体设置宣传品等,应当经城市市容和环境卫生行政主管部门批准。零星宣传品应当在城市市容和环境卫生行政主管部门设置或者指定的公共宣传栏张贴。除经批准的自设广告外,禁止采用刻画、喷涂、胶贴等难以清除的方式进行广告宣传。

3、符合规划要求。

四、申请资料

1、经办人身份证复印件

2、法人身份证复印件

3、营业执照复印件(企业统一社会代码)

4、户外广告设置申请表

5、利害关系人协议书

6、产权单位协议书

7、设计图纸

8、安全保证书

9、授权书

10、街路平面位置图

五、办理程序

一)提出申请:申请人到政务服务大厅市城管执法局窗口提出申请;

(二)受理;

(三)审查

1、大厅工作人员对申请人提供资料的合法性、完整性进行审查。

2、由各网格大队对现场进行勘查;

(四)做出决定:1、许可;2、不予许可;

(五)核发证书。

六、法定时限和承诺时限 

法定时限:20日,承诺时限:3个工作日。

七、咨询、投诉电话

咨询电话:3235810

投诉电话:3537008

 

 

 

 

 

户外广告设置申请表

 

申请单位

 

统一社会

信用代码

 

经办人

 

身份证号

 

联系电话

 

广告面积及数量

长:      米, 宽:     米,  共:     平方米    共 :   

设置时间              

                日至               

 

  设置地点

 

 

 

广

 

 

广告设置期间,我单位承诺愿意遵守《吉林省城市市容和环境卫生管理条例》以及《吉林省公用设施管理条例》等有关规定,保持广告整洁、完好。广告设置已经房屋所有权人及相关邻居的同意。并做好安全防护措施,自行承担因广告设置安全防护不到位引起的一切责任。广告图案、文字污浊、腐蚀、损毁的,及时修复、更新;到期及时拆除。若因城市管理工作需要无条件拆除。

特此承诺。

 

 

 

 

      经办人签字:                       单位公章:

户外广告类审批流程图

街路临时宣传审批  

 

一、行政许可事项名称

街路临时宣传 (基本目录编码000117017000)

二、许可依据

城市市容和环境卫生管理条例》(1992年6月28日国务院令第101号,2011年1月1日予以修改)第十一条:在城市中设置户外广告、标语牌、画廊、橱窗等,应当内容健康、外型美观,并定期维修、油饰或者拆除。大型户外广告的设置必须征得城市人民政府市容环境卫生行政主管部门同意后,按照有关规定办理审批手续。第十七条:一切单位和个人,都不得在城市建筑物、设施以及树木上涂写、刻画。

单位和个人在城市建筑物、设施上张挂、张贴宣传品等,须经城市人民政府市容环境卫生行政主管部门或者其他有关部门批准。

《吉林省城市市容和环境卫生管理条例》(2008年11月28日吉林省第十一届人民代表大会常务委员会第七次会议通过  2008年11月28日吉林省人民代表大会常务委员会公告第10号公布,自2009年4月1日起施行)第二十三条:在建筑物、构筑物和其他设施上悬挂、张贴宣传品;利用条幅、旗帜、充气装置、实物造型等载体设置宣传品等,应当经城市市容和环境卫生行政主管部门批准。零星宣传品应当在城市市容和环境卫生行政主管部门设置或者指定的公共宣传栏张贴。除经批准的自设广告外,禁止采用刻画、喷涂、胶贴等难以清除的方式进行广告宣传。

三、许可范围

临时占用街路临时宣传。

四、申请资料

1、申请人身份复印件(非本人办理需要提供委托书和被委托人身份证明原件和复印件);

2、营业执照复印件(企业统一社会信用代码);

3、申请单位法人身份证复印件;

4、平面图复印件;

5、街路临时宣传申请表;

五、办理程序

一)提出申请:申请人到政务服务大厅市城管执法局窗口提出申请;

(二)受理;

(三)审查

1、大厅工作人员对申请人提供资料的合法性、完整性进行审查。

2、由各网格大队对现场进行勘查;

(四)做出决定:1、许可;2、不予许可;

(五)核发证书。

六、法定时限和承诺时限 

法定时限:20日,承诺时限:3个工作日。

七、咨询、投诉电话

咨询电话:3235810

投诉电话:3537008

 

 

 

 

 

 

 

 

 

 

 

 

 

街路临时宣传申请表

申请单位

 

统一社会

信用代码

 

经办人

 

身份证号

 

联系电话

 

占用面积

 

地点

 

占用时间

       日至               

 

占道物资

 

 

 

 

 

道路占用期间,我单位承诺愿意遵守《吉林省城市市容和环境卫生管理条例》以及《吉林省市政公用设施管理条例》等有关规定,交纳相应占道费用和恢复设施保证金,负责维护场地设施、交通、秩序及清洁卫生,对活动中的一切安全问题负责,并保证在活动结束后将场地恢复原貌。

特此承诺。

 

 

 

 

                 申请人:                            (公章)

 

 

 

                                                         

 

 

 

 

 

街路临时宣传审批流程图

 

 

 

 

 

 

临时占用城市道路审批  

 

一、行政许可事项名称

临时占用城市道路审批 (基本目录编码000117020000)

二、许可依据

《城市道路管理条例》(1996年6月4日国务院令第198号,2011年1月1日予以修改)第三十条:未经市政工程行政主管部门和公安交通管理部门批准,任何单位和个人不得占用或挖掘城市道路。第三十一条:因特殊情况需要临时占用城市道路的,须经市政工程行政主管部门和公安交通管理部门批准,方可按照规定占用。第三十三条:因工程建设需要挖掘城市道路的,应当持城市规划部门批准签发的文件和有关设计文件,到市政工程行政主管部门和公安交通管理部门办理审批手续,方可按照规定挖掘。新建、扩建、改建的城市道路交付使用后5年内、大修的城市道路竣工后3年内不得挖掘;因特殊情况需要挖掘的,须经县级以上城市人民政府批准。

《城市道路管理条例》(1996年6月4日国务院令第198号,2011年1月1日予以修改)第二十九条:依附于城市道路建设各种管线、杆线等设施的,应当经市政工程行政主管部门批准,方可建设。

《国务院对确需保留的行政审批项目设定行政许可的决定》(2004年6月29日国务院令第412号,2009年1月29日予以修改)附件第109项:城市桥梁上架设各类市政管线审批,实施机关:所在城市的市人民政府市政工程设施行政主管部门。

《国务院关于印发清理规范投资项目报建审批事项实施方案的通知》(国发〔2016〕29号)第二条第(二)项:将‘占用、挖掘城市道路审批’、‘依附于城市道路建设各种管线、杆线等设施审批’、‘城市桥梁上架设各类市政管线审批’3项合并为‘市政设施建设类审批’1项”。《吉林省市政公用设施管理条例》第十六条:需要临时挖掘或占用道路的,须经市、县市政公用设施管理部门和公安交通管理部门批准,办理许可证。并向市政公用设施管理部门交纳道路挖掘费、占用费及回填道路和恢复设施保证金。

三、受理条件

新建、扩建、改建的城市道路交付使用后5年内、大修的城市道路竣工后3年内不得挖掘;因特殊情况需要挖掘的,须经县级以上城市人民政府批准。

因工程建设需要挖掘城市道路面积大于20平方米的,应当持城市规划部门批准签发的文件和有关设计文件,到市政工程行政主管部门和公安交通管理部门办理审批手续,方可按照规定挖掘。因工程建设需要挖掘城市道路面积大于20平方米的,应当持城市规划部门批准签发的文件和有关设计文件,到市政工程行政主管部门和公安交通管理部门办理审批手续,方可按照规定挖掘。

四、申请资料

1、经办人身份证明(非本人申请需要提供委托书和被委托人身份证明原件和复印件);

2、建设用地规划条件图;

3、临时占用城市道路审批表

五、办理程序

一)提出申请:申请人到政务服务大厅市城管执法局窗口提出申请;

(二)受理;

(三)审查

1、大厅工作人员对申请人提供资料的合法性、完整性进行审查。

2、由由各网格大队对现场进行勘查;

(四)做出决定:1、许可;2、不予许可;

(五)核发证书。

六、法定时限和承诺时限 

法定时限:20日,承诺时限:3个工作日。

七、咨询、投诉电话

咨询电话:3235810  

投诉电话:3537008

 

 

 

 

 

 

 

 

 

 

 

 

 

 

 

 

 

 

 

 

 

申请单位

 

统一社会

信用代码

 

经办人

 

身份证号

 

联系电话

 

  占用面积

 

 

 

占用时间

20                 20                

占道物资

 

   

  

  

 

                                                      

                                                               

                                                                       

                                                                                             

                           

 

道路占用期间,我单位承诺愿意遵守《吉林省城市市容和环境卫生管理条例》以及《吉林省市政公用设施管理条例》等有关规定,交纳相应占道费用和恢复设施保证金,负责维护场地设施、交通、秩序及清洁卫生,对活动中的一切安全问题负责,并保证在活动结束后将场地恢复原貌。

特此承诺

               

 

 

 

 

申请人:              (公章)

  

          

                               

临时占用城市道路审批表

 

 

 

 

临时占用城市道路审批流程图

 

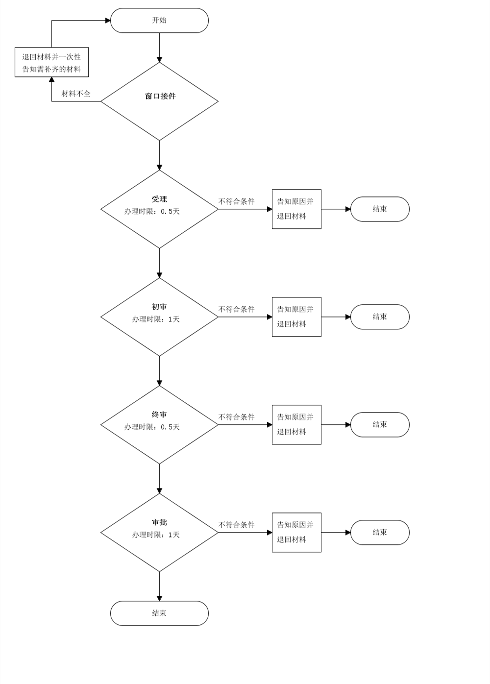
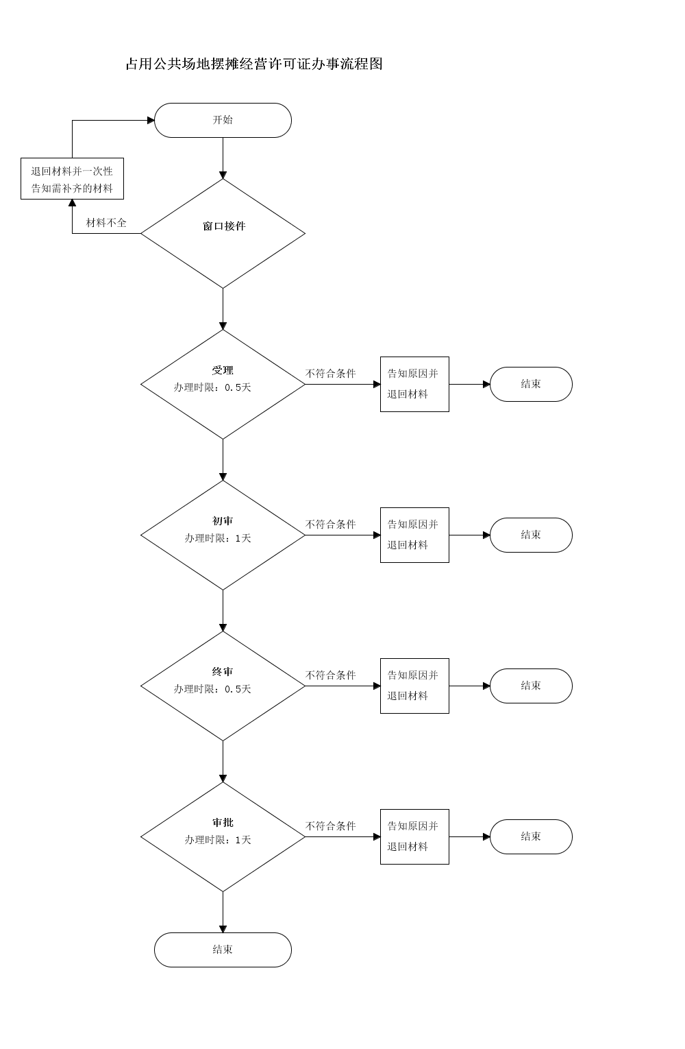
占用公共场地摆摊经营审批

 

一、行政许可事项名称

占用公共场地摆摊经营审批(基本目录编码220117112000)

二、许可依据

《城市市容和环境卫生管理条例》(1992年6月28日国务院令第101号,2011年1月1日予以修改)第十四条:任何单位和个人都不得在街道两侧和公共场地堆放物料,搭建建筑物、构筑物或者其他设施。因建设等特殊需要,在街道两侧和公共场地临时堆放物料,搭建非永久性建筑物、构筑物或者其他设施的,必须征得城市人民政府市容环境卫生行政主管部门同意后,按照有关规定办理审批手续。《吉林省城市市容和环境卫生管理条例》第十九条:任何单位和个人不得在街道两侧和公共场地搭建建筑物、构筑物或者其他设施。因建设等特殊需要,在街道两侧和公共场地临时搭建非永久性建筑物、构筑物或者其他设施的,必须征得城市人民政府市容和环境卫生行政主管部门同意后,按照有关规定办理审批手续。《吉林省城市市容和环境卫生管理条例》第二十一条 占用道路以及其他公共场地开设集贸市场、摆摊经营的,应当经有关部门批准,具体管理办法由市(州)、县(市)人民政府制定。

三、许可范围

占用公共场地摆摊经营,不影响交通、不妨碍居民生活和安全生产。

四、申请资料

1、申请人身份证明(非本人申请需要提供委托书和被委托人身份证明原件和复印件);

2、营业执照复印件(单位需提供);

3、占用地点管理单位意见或场地协议书原件和复印件;

4、申请占用地点平面图复印件;

5、书面申请原件;

6、安全保证书;

五、办理程序

一)提出申请:申请人到政务服务大厅局市城管执法局窗口提出申请;

(二)受理;

(三)审查

1、大厅工作人员对申请人提供资料的合法性、完整性进行审查。

2、由所属网格大队对申请文章进行现场勘查;

(四)做出决定:1、许可;2、不予许可;

(五)核发证书。

六、法定时限和承诺时限 

法定时限:20日,承诺时限:3个工作日。

七、咨询、投诉电话

咨询电话:3235810

投诉电话:3537008

 

 

 

 

 

 

 

 

 

 

 

 

申请单位

 

统一社会信用代码

 

经办人

 

身份证号

 

联系电话

 

占用面积

 

 

 

占用时间

20                 20                

占用尺寸

长:                         宽:        

   

  

  

 

                                                      

                                                               

                                                                       

                                                                                             

                           

 

公共场地占用期间,我单位承诺愿意遵守《吉林省城市市容和环境卫生管理条例》以及《吉林省市政公用设施管理条例》等有关规定,交纳相应占用费用和恢复设施保证金,负责维护场地设施、交通、秩序及清洁卫生,对活动中的一切安全问题负责,并保证在活动结束后将场地恢复原貌。

特此承诺

               

 

 

 

 

申请人:              (公章)

  

          

                               

占用公共场合摆摊审批表

安全保证书

 

白山市城市管理行政执法:

   我单位严格按照《中华人民共和国安全生产法》、《吉林省市容和环境卫生管理条例》相关规定临时占道作业。类别:      位置:      ;面积:     平方米;内容:      。本单位做到如下承诺:

    1、我单位对临时占道提交的相关材料(工商营业执照复印件、占用地点平面图地点管理单位意见或场地协议书原件和复印件公章等)真实可靠,如经查处虚假,由我单位承担全部责任。

    2、临时占道审批手续办理中不提前作业,由此产生的后果及损失由单位负责

    3、临时占道期间发生任何安全事故,给自身、他人或社会造成的后果及损失由本单位负责。

4、严格按照市容管理相关规定临时占道,不占用机动车道、盲道、停车泊位

5、围挡、摊、亭、床不张贴淫秽及有损国家、政府、社会形象图片、文字,由此产生的后果及损失由我单位承担。

 

承诺单位:______(盖章)                    

月 日

 

 

 

 

 

 

 

占用公共场地摆摊经营审批流程图

 

 

 

 

初审:    复审:    终审: